专利数据库
统计分析
产业报告
专利数据监控
产业人才
行业动态
产业政策法规
维权援助
个人中心
详情
文本
图像
标题
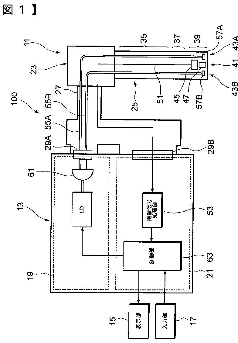
内視鏡
授权日
2014-08-29
公开(公告)号
JP5604409B2
申请日
2011-11-24
公开(公告)日
2014-10-08
当前申请(专利权)人
富士フイルム株式会社
发明人
杉澤 竜也 | 内藤 圭介
简单同族
CN102599874A | CN102599874B | CN104873161A | CN104873161B | EP2478822A1 | EP2478822B1 | JP2012161591A | JP5604409B2 | US20120184818A1 | US20150265135A1 | US9549665
简单同族成员数量
11
简单同族被引用专利总数
22
诉讼案件数
0
法律状态/事件
授权
抱歉,您的浏览器不支持PDF预览,请点击链接下载PDF文件