专利数据库
统计分析
产业报告
专利数据监控
产业人才
行业动态
产业政策法规
维权援助
个人中心
详情
文本
图像
标题
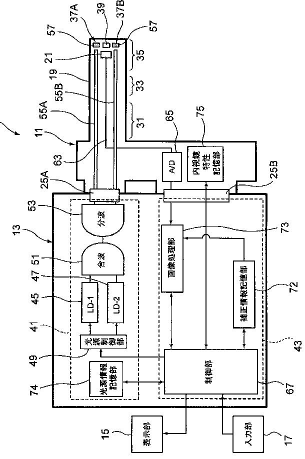
内視鏡システム
授权日
1900-01-01
公开(公告)号
JP2011087910A
申请日
2010-05-25
公开(公告)日
2011-05-06
当前申请(专利权)人
富士フイルム株式会社
发明人
小澤 聡 | 遠藤 安土
简单同族
EP2301414A1 | EP2301414B1 | JP2011087910A | JP5544219B2 | US20110069164A1 | US8553077
简单同族成员数量
6
简单同族被引用专利总数
49
诉讼案件数
0
法律状态/事件
授权
抱歉,您的浏览器不支持PDF预览,请点击链接下载PDF文件