专利数据库
统计分析
产业报告
专利数据监控
产业人才
行业动态
产业政策法规
维权援助
个人中心
详情
文本
图像
标题
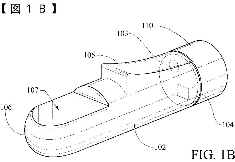
傾斜部を備えた内視鏡キャップ
授权日
2015-04-10
公开(公告)号
JP5728023B2
申请日
2010-12-15
公开(公告)日
2015-06-03
当前申请(专利权)人
クック·メディカル·テクノロジーズ·リミテッド·ライアビリティ·カンパニー
发明人
サーティ, ヴィルー, シー.
简单同族
AU2010331921A1 | AU2010331921B2 | AU2010331922A1 | AU2010331922B2 | AU2010331924A1 | AU2010331924B2 | CA2784097A1 | CA2784097C | CA2784117A1 | CA2784117C | CA2784901A1 | CA2784901C | CN102834042A | CN102834042B | CN102858228A | CN102858228B | CN102869296A | CN102869296B | EP2512318A2 | EP2512318B1 | EP2512319A2 | EP2512319B1 | EP2512320A1 | EP2512320B1 | JP2013514148A | JP2013514148A5 | JP2013514149A | JP2013514150A | JP5728023B2 | JP5759478B2 | JP5764577B2 | US20110152616A1 | US20110152618A1 | US20110313242A1 | US8690756 | US8696550 | US9913574 | WO2011075509A1 | WO2011075510A2 | WO2011075510A3 | WO2011075512A2 | WO2011075512A3
简单同族成员数量
42
简单同族被引用专利总数
49
诉讼案件数
0
法律状态/事件
授权
抱歉,您的浏览器不支持PDF预览,请点击链接下载PDF文件