专利数据库
统计分析
产业报告
专利数据监控
产业人才
行业动态
产业政策法规
维权援助
个人中心
详情
文本
图像
标题
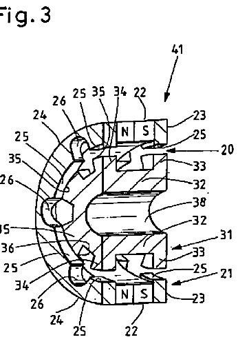
内視鏡用非接触磁気カップリングおよび内視鏡
授权日
1900-01-01
公开(公告)号
JP2014523323A
申请日
2012-07-02
公开(公告)日
2014-09-11
当前申请(专利权)人
オリンパス ビンテル ウント イーベーエー ゲーエムベーハー
发明人
ヴィータース マルティン
简单同族
CN103648356A | CN103648356B | DE102011078969A1 | DE102011078969B4 | JP2014523323A | JP2014523323A5 | JP6008961B2 | US20140128674A1 | WO2013007352A1
简单同族成员数量
9
简单同族被引用专利总数
28
诉讼案件数
0
法律状态/事件
授权
抱歉,您的浏览器不支持PDF预览,请点击链接下载PDF文件