专利数据库
统计分析
产业报告
专利数据监控
产业人才
行业动态
产业政策法规
维权援助
个人中心
详情
文本
图像
标题
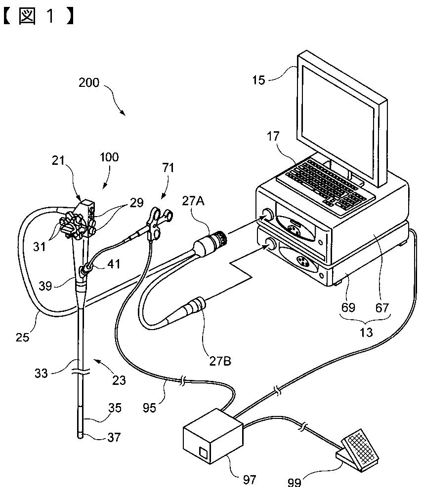
内視鏡システム
授权日
2014-01-24
公开(公告)号
JP5463210B2
申请日
2010-06-07
公开(公告)日
2014-04-09
当前申请(专利权)人
富士フイルム株式会社
发明人
村上 浩史
简单同族
CN102283625A | CN102283625B | EP2392252A1 | EP2392252B1 | JP2011254900A | JP5463210B2 | US20110298908A1 | US8902304
简单同族成员数量
8
简单同族被引用专利总数
27
诉讼案件数
0
法律状态/事件
授权
抱歉,您的浏览器不支持PDF预览,请点击链接下载PDF文件