专利数据库
统计分析
产业报告
专利数据监控
产业人才
行业动态
产业政策法规
维权援助
个人中心
详情
文本
图像
标题
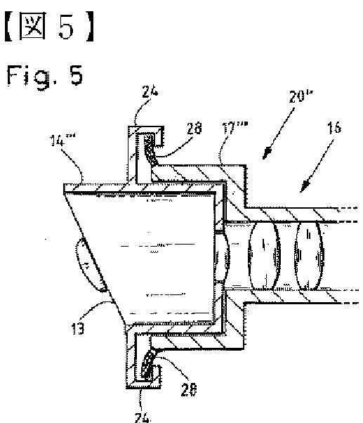
斜めの視野角を有する内視鏡
授权日
1900-01-01
公开(公告)号
JP2014523324A
申请日
2012-07-03
公开(公告)日
2014-09-11
当前申请(专利权)人
オリンパス ビンテル ウント イーベーエー ゲーエムベーハー
发明人
ヴィータース マルティン
简单同族
CN103648355A | CN103648355B | DE102011078968A1 | DE102011078968B4 | JP2014523324A | JP6166259B2 | US10085621 | US20140128679A1 | WO2013007356A1
简单同族成员数量
9
简单同族被引用专利总数
27
诉讼案件数
0
法律状态/事件
授权
抱歉,您的浏览器不支持PDF预览,请点击链接下载PDF文件