专利数据库
统计分析
产业报告
专利数据监控
产业人才
行业动态
产业政策法规
维权援助
个人中心
详情
文本
图像
标题
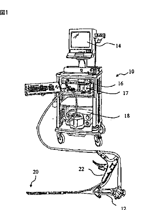
内視鏡縫合システム
授权日
1900-01-01
公开(公告)号
JP2014193372A
申请日
2014-05-07
公开(公告)日
2014-10-09
当前申请(专利权)人
アポロ エンドサージェリー,インコーポレイティド
发明人
ギルキー,ジェイ.ランドン | ジョーンズ,ドナルド ケー. | クラッシュ,ピーター ケー. | ナグルライター,ブレット イー.
简单同族
EP2303144A1 | EP2303144A4 | EP2303144B1 | ES2734905T3 | JP2011524238A | JP2011524238A5 | JP2014193372A | JP5763531B2 | JP5848391B2 | US20090312775A1 | US20130096581A1 | US20200163665A1 | US20200163666A1 | US8287556 | WO2009155287A1
简单同族成员数量
15
简单同族被引用专利总数
78
诉讼案件数
0
法律状态/事件
授权
抱歉,您的浏览器不支持PDF预览,请点击链接下载PDF文件