专利数据库
统计分析
产业报告
专利数据监控
产业人才
行业动态
产业政策法规
维权援助
个人中心
详情
文本
图像
标题
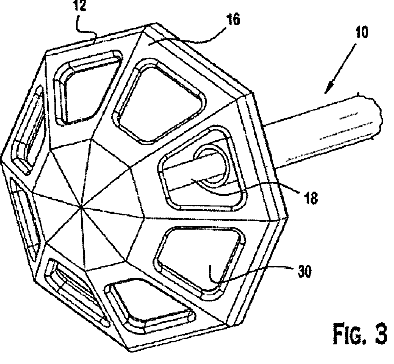
最小侵襲腹腔鏡手術用リトラクタ
授权日
1900-01-01
公开(公告)号
JP2014507202A
申请日
2012-01-04
公开(公告)日
2014-03-27
当前申请(专利权)人
ザ·ジョンズ·ホプキンス·ユニバーシティ
发明人
ヒエン タン グエン
简单同族
CN103281971A | CN103281971B | EP2661231A2 | EP2661231A4 | JP2014507202A | JP2014507202A5 | JP5989003B2 | US20140031630A1 | US20160270775A1 | US9445800 | WO2012094364A2 | WO2012094364A3
简单同族成员数量
12
简单同族被引用专利总数
25
诉讼案件数
0
法律状态/事件
授权
抱歉,您的浏览器不支持PDF预览,请点击链接下载PDF文件