专利数据库
统计分析
产业报告
专利数据监控
产业人才
行业动态
产业政策法规
维权援助
个人中心
详情
文本
图像
标题
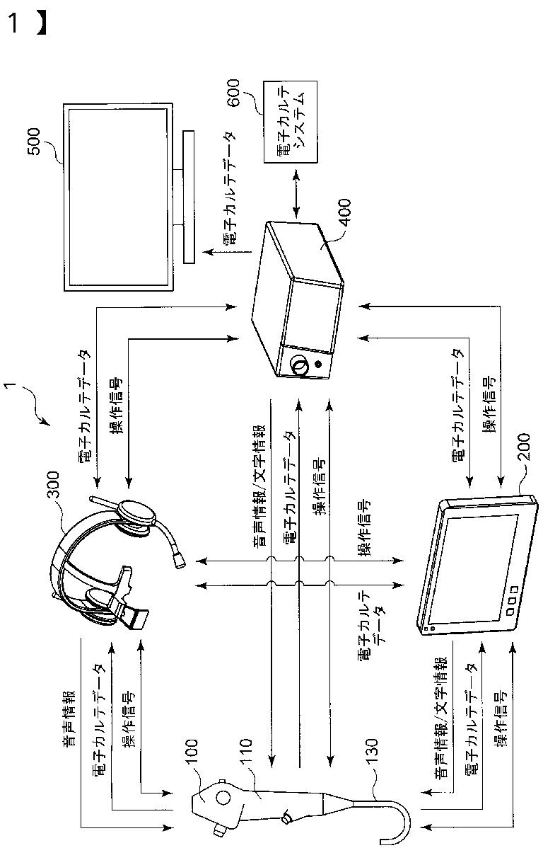
電子内視鏡システム
授权日
2015-04-17
公开(公告)号
JP5730177B2
申请日
2011-11-21
公开(公告)日
2015-06-03
当前申请(专利权)人
独立行政法人国立がん研究センター | HOYA株式会社
发明人
小林 寿光 | 内藤 直幸 | 池田 邦利 | 大石 万希生 | 松原 晃義 | 佐野 浩
简单同族
JP2013106752A | JP5730177B2
简单同族成员数量
2
简单同族被引用专利总数
31
诉讼案件数
0
法律状态/事件
授权 | 权利转移
抱歉,您的浏览器不支持PDF预览,请点击链接下载PDF文件