专利数据库
统计分析
产业报告
专利数据监控
产业人才
行业动态
产业政策法规
维权援助
个人中心
详情
文本
图像
标题
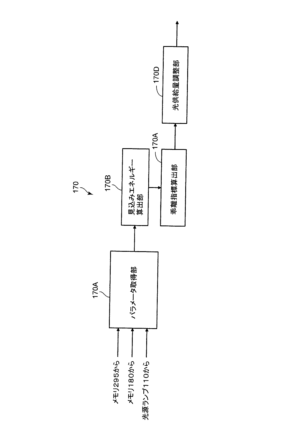
内視鏡用プロセッサ及び光供給量調整方法
授权日
1900-01-01
公开(公告)号
JP2017153558A
申请日
2016-02-29
公开(公告)日
2017-09-07
当前申请(专利权)人
HOYA株式会社
发明人
小林 将太郎 | 滝沢 努 | 笹村 大樹 | 山邉 俊明 | 石和 淳子 | 下田代 真哉 | 尾登 邦彦 | 小松 雅弘
简单同族
JP2017153558A
简单同族成员数量
1
简单同族被引用专利总数
0
诉讼案件数
0
法律状态/事件
实质审查
抱歉,您的浏览器不支持PDF预览,请点击链接下载PDF文件