专利数据库
统计分析
产业报告
专利数据监控
产业人才
行业动态
产业政策法规
维权援助
个人中心
详情
文本
图像
标题
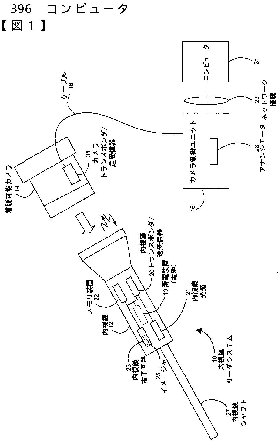
内視鏡ビデオシステム
授权日
2014-01-31
公开(公告)号
JP5465219B2
申请日
2011-09-09
公开(公告)日
2014-04-09
当前申请(专利权)人
カール·ストーツ·イメージング·インコーポレイテッド
发明人
マーク·アール·アムリング | ハンス·デイヴィッド·ホーグ | デイヴィッド·シャトネヴァー | チャールズ·イー·アンクナー
简单同族
CA2749449A1 | CA2749449C | EP2428155A1 | EP2428155B1 | JP2012055697A | JP5465219B2 | US20110193948A1 | US20140210977A1 | US8723936 | US9271630
简单同族成员数量
10
简单同族被引用专利总数
109
诉讼案件数
0
法律状态/事件
授权
抱歉,您的浏览器不支持PDF预览,请点击链接下载PDF文件