专利数据库
统计分析
产业报告
专利数据监控
产业人才
行业动态
产业政策法规
维权援助
个人中心
详情
文本
图像
标题
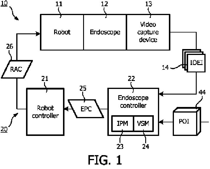
血管ツリー画像に基づく内視鏡のロボット制御
授权日
1900-01-01
公开(公告)号
JP2013541365A
申请日
2011-09-13
公开(公告)日
2013-11-14
当前申请(专利权)人
コーニンクレッカ フィリップス エヌ ヴェ
发明人
ポポヴィック アレクサンドラ
简单同族
BR112013005879A2 | CN103108602A | CN103108602B | EP2615993A1 | EP2615993B1 | JP2013541365A | JP2013541365A5 | JP5955847B2 | RU2013116901A | RU2594813C2 | US10182704 | US20130165948A1 | US20170209028A1 | US9615886 | WO2012035492A1
简单同族成员数量
15
简单同族被引用专利总数
58
诉讼案件数
0
法律状态/事件
授权
抱歉,您的浏览器不支持PDF预览,请点击链接下载PDF文件