专利数据库
统计分析
产业报告
专利数据监控
产业人才
行业动态
产业政策法规
维权援助
个人中心
详情
文本
图像
标题
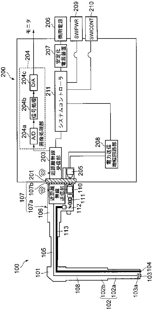
電子内視鏡システム、電子内視鏡及びプロセッサ
授权日
1900-01-01
公开(公告)号
JP2013208187A
申请日
2012-03-30
公开(公告)日
2013-10-10
当前申请(专利权)人
HOYA株式会社
发明人
渡邉 博人
简单同族
JP2013208187A | JP6005383B2
简单同族成员数量
2
简单同族被引用专利总数
54
诉讼案件数
0
法律状态/事件
授权
抱歉,您的浏览器不支持PDF预览,请点击链接下载PDF文件