专利数据库
统计分析
产业报告
专利数据监控
产业人才
行业动态
产业政策法规
维权援助
个人中心
详情
文本
图像
标题
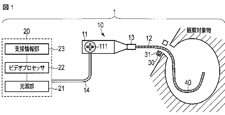
内視鏡装置の挿入支援情報検出システム及び内視鏡装置
授权日
1900-01-01
公开(公告)号
JP2014113352A
申请日
2012-12-11
公开(公告)日
2014-06-26
当前申请(专利权)人
オリンパス株式会社
发明人
伊藤 毅 | 羽根 潤 | 藤田 浩正 | 東條 良
简单同族
CN104837397A | CN104837397B | EP2932883A1 | EP2932883A4 | JP2014113352A | JP6205125B2 | US20150305597A1 | WO2014091885A1
简单同族成员数量
8
简单同族被引用专利总数
35
诉讼案件数
0
法律状态/事件
授权
抱歉,您的浏览器不支持PDF预览,请点击链接下载PDF文件