专利数据库
统计分析
产业报告
专利数据监控
产业人才
行业动态
产业政策法规
维权援助
个人中心
详情
文本
图像
标题
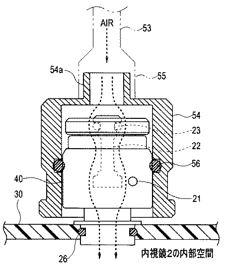
内視鏡システムおよび内視鏡の漏水検知処理方法
授权日
1900-01-01
公开(公告)号
JP2018143719A
申请日
2017-03-09
公开(公告)日
2018-09-20
当前申请(专利权)人
オリンパス株式会社
发明人
北出 晋一
简单同族
JP2018143719A
简单同族成员数量
1
简单同族被引用专利总数
0
诉讼案件数
0
法律状态/事件
公开
抱歉,您的浏览器不支持PDF预览,请点击链接下载PDF文件