专利数据库
统计分析
产业报告
专利数据监控
产业人才
行业动态
产业政策法规
维权援助
个人中心
详情
文本
图像
标题
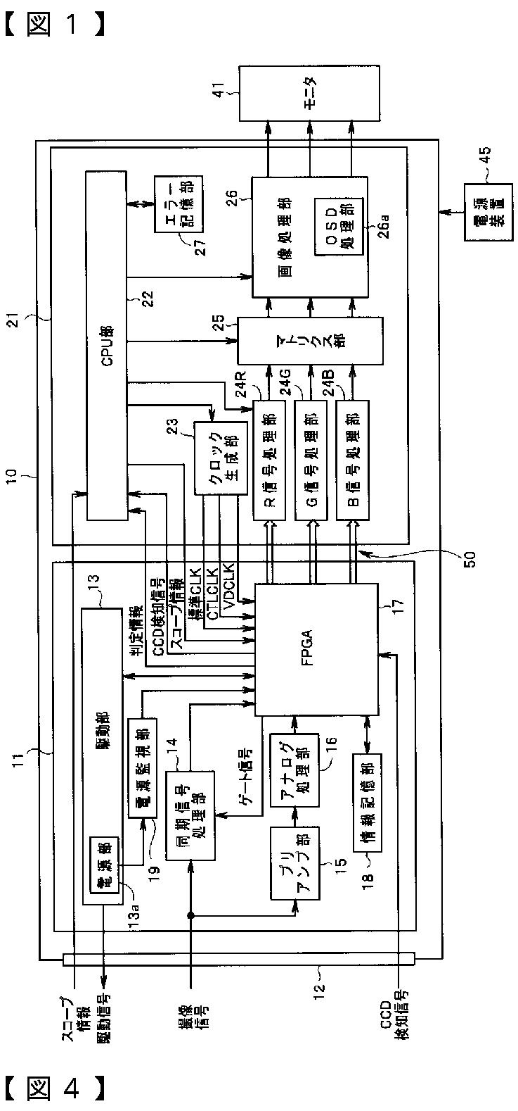
内視鏡画像処理装置及び内視鏡システム
授权日
2012-07-13
公开(公告)号
JP5037731B2
申请日
2011-06-15
公开(公告)日
2012-10-03
当前申请(专利权)人
オリンパスメディカルシステムズ株式会社
发明人
藤本 武秀 | 菅野 清貴 | 鈴木 達彦 | 信濃 秀和
简单同族
CN102781304A | CN102781304B | EP2520215A1 | EP2520215A4 | EP2520215B1 | JP5037731B2 | JPWO2012008259A1 | US20120178992A1 | US8449453 | WO2012008259A1
简单同族成员数量
10
简单同族被引用专利总数
28
诉讼案件数
0
法律状态/事件
授权 | 权利转移
抱歉,您的浏览器不支持PDF预览,请点击链接下载PDF文件