专利数据库
统计分析
产业报告
专利数据监控
产业人才
行业动态
产业政策法规
维权援助
个人中心
详情
文本
图像
标题
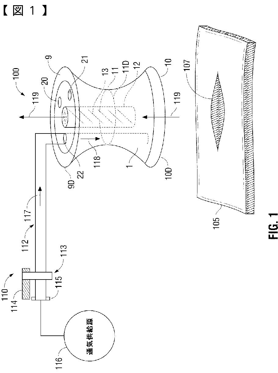
一体的なフィルタ/排気口を有する単一ポートデバイス
授权日
2015-03-20
公开(公告)号
JP5714254B2
申请日
2010-07-30
公开(公告)日
2015-05-07
当前申请(专利权)人
コヴィディエン リミテッド パートナーシップ
发明人
グレゴリー ジー. オコニーウスキー
简单同族
AU2010206077A1 | AU2010206077B2 | CA2711350A1 | EP2279704A1 | EP2279704B1 | ES2630829T3 | JP2011031046A | JP5714254B2 | US20110028891A1 | US20140051933A1 | US8585632 | US9451877
简单同族成员数量
12
简单同族被引用专利总数
100
诉讼案件数
0
法律状态/事件
未缴年费
抱歉,您的浏览器不支持PDF预览,请点击链接下载PDF文件