专利数据库
统计分析
产业报告
专利数据监控
产业人才
行业动态
产业政策法规
维权援助
个人中心
详情
文本
图像
标题
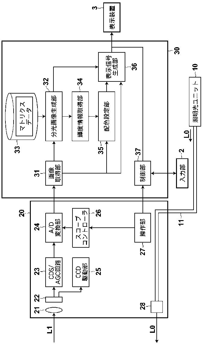
画像取得方法および装置
授权日
1900-01-01
公开(公告)号
JP2010005056A
申请日
2008-06-26
公开(公告)日
2010-01-14
当前申请(专利权)人
富士フイルム株式会社
发明人
高橋 遼
简单同族
CN101612029A | CN101612029B | EP2138977A2 | EP2138977A3 | EP2138977B1 | JP2010005056A | JP2010005056A5 | JP5294723B2 | US20090322907A1 | US8334892
简单同族成员数量
10
简单同族被引用专利总数
27
诉讼案件数
0
法律状态/事件
授权 | 权利转移
抱歉,您的浏览器不支持PDF预览,请点击链接下载PDF文件