专利数据库
统计分析
产业报告
专利数据监控
产业人才
行业动态
产业政策法规
维权援助
个人中心
详情
文本
图像
标题
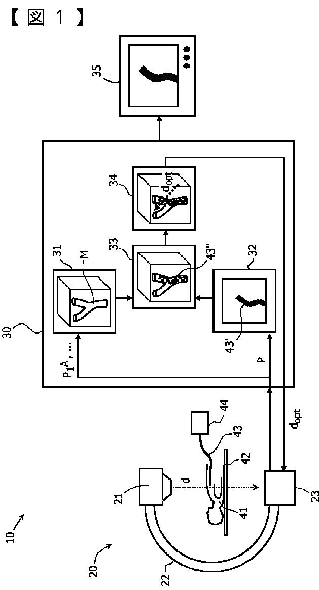
脈管系内のカテーテルの観察のための装置
授权日
2013-02-15
公开(公告)号
JP5198249B2
申请日
2006-03-16
公开(公告)日
2013-05-15
当前申请(专利权)人
コーニンクレッカ フィリップス エレクトロニクス エヌ ヴィ
发明人
ホマン ロベルト ジェイ エフ | バビク ドラゼンコ
简单同族
CN101150986A | CN101150986B | EP1865850A1 | EP1865850B1 | JP2008534103A | JP5198249B2 | US20080171936A1 | US8046051 | WO2006103580A1
简单同族成员数量
9
简单同族被引用专利总数
67
诉讼案件数
0
法律状态/事件
授权
抱歉,您的浏览器不支持PDF预览,请点击链接下载PDF文件