专利数据库
统计分析
产业报告
专利数据监控
产业人才
行业动态
产业政策法规
维权援助
个人中心
详情
文本
图像
标题
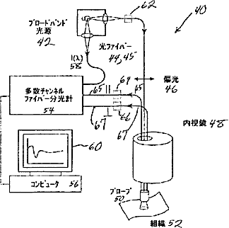
組織の偏光散乱分光法
授权日
1900-01-01
公开(公告)号
JP2002535027A
申请日
2000-01-25
公开(公告)日
2002-10-22
当前申请(专利权)人
マサチユセツツ·インスチチユート·オブ·テクノロジイ
发明人
バツクマン,バデイム | ダサリ,ラマンチヤンドラ·アール | グルジヤー,ラジヤン | イツカン,アービング | ペレルマン,レブ | フエルド,マイケル·エス
简单同族
AU2000033510A1 | CA2359643A1 | CN1211046C | CN1341004A | EP1148811A1 | HK1041593A | JP2002535027A | JP2002535027A5 | JP4516217B2 | KR1020010101687A | NZ513116A | NZ513116B | US20020171831A1 | US6404497 | US6624890 | WO2000042912A1 | WO2000042912A9
简单同族成员数量
17
简单同族被引用专利总数
214
诉讼案件数
0
法律状态/事件
未缴年费
抱歉,您的浏览器不支持PDF预览,请点击链接下载PDF文件