专利数据库
统计分析
产业报告
专利数据监控
产业人才
行业动态
产业政策法规
维权援助
个人中心
详情
文本
图像
标题
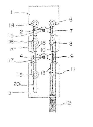
多節スライダ·リンクによる屈曲機構
授权日
1900-01-01
公开(公告)号
JP2004154877A
申请日
2002-11-05
公开(公告)日
2004-06-03
当前申请(专利权)人
独立行政法人 科学技術振興機構
发明人
土肥 健純 | 波多 伸彦 | 山下 紘正
简单同族
CA2503408A1 | JP2004154877A | US20060096403A1 | WO2004041485A1
简单同族成员数量
4
简单同族被引用专利总数
25
诉讼案件数
0
法律状态/事件
驳回 | 权利转移
抱歉,您的浏览器不支持PDF预览,请点击链接下载PDF文件