专利数据库
统计分析
产业报告
专利数据监控
产业人才
行业动态
产业政策法规
维权援助
个人中心
详情
文本
图像
标题
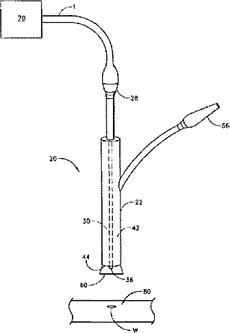
外科手術中に組織開口部を閉鎖するためのパッチおよび粘着剤の搬送システム
授权日
1900-01-01
公开(公告)号
JP2003523252A
申请日
2001-02-26
公开(公告)日
2003-08-05
当前申请(专利权)人
ローマ リンダ ユニヴァーシティ メディカル センター
发明人
ズー ヨン フア | カーシュ ウォルフ エム
简单同族
AT480186T | AU2001243291A1 | CN1226019C | CN1406118A | DE60143022D1 | EP1259168A2 | EP1259168B1 | JP2003523252A | JP2003523252A5 | JP4953540B2 | US20020026159A1 | US20040010216A1 | US6589269 | US7931628 | WO2001062159A2 | WO2001062159A3
简单同族成员数量
16
简单同族被引用专利总数
194
诉讼案件数
0
法律状态/事件
未缴年费
抱歉,您的浏览器不支持PDF预览,请点击链接下载PDF文件