专利数据库
统计分析
产业报告
专利数据监控
产业人才
行业动态
产业政策法规
维权援助
个人中心
详情
文本
图像
标题
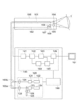
蛍光検出システム
授权日
1900-01-01
公开(公告)号
JP2006263044A
申请日
2005-03-23
公开(公告)日
2006-10-05
当前申请(专利权)人
富士写真フイルム株式会社
发明人
千代 知成
简单同族
DE602006017622D1 | EP1705477A2 | EP1705477A3 | EP1705477B1 | JP2006263044A | US20060247535A1 | US7646002
简单同族成员数量
7
简单同族被引用专利总数
87
诉讼案件数
0
法律状态/事件
撤回 | 权利转移
抱歉,您的浏览器不支持PDF预览,请点击链接下载PDF文件