专利数据库
统计分析
产业报告
专利数据监控
产业人才
行业动态
产业政策法规
维权援助
个人中心
详情
文本
图像
标题
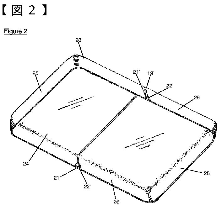
医療用器具の保存と移送のためのキット
授权日
2014-01-17
公开(公告)号
JP5457458B2
申请日
2008-10-21
公开(公告)日
2014-04-02
当前申请(专利权)人
メディカート インターナショナル リミテッド
发明人
パーカー,ジョージ,クリストファー | ルーク,バリー
简单同族
AU2008363197A1 | AU2008363197A2 | AU2008363197B2 | CA2738972A1 | CA2738972C | CN102202595A | CN102202595B | DE202009014228U1 | EP2339982A1 | EP2339982B1 | JP2012506277A | JP5457458B2 | US20110192744A1 | US8733551 | WO2010046617A1
简单同族成员数量
15
简单同族被引用专利总数
43
诉讼案件数
0
法律状态/事件
授权 | 权利转移
抱歉,您的浏览器不支持PDF预览,请点击链接下载PDF文件