专利数据库
统计分析
产业报告
专利数据监控
产业人才
行业动态
产业政策法规
维权援助
个人中心
详情
文本
图像
标题
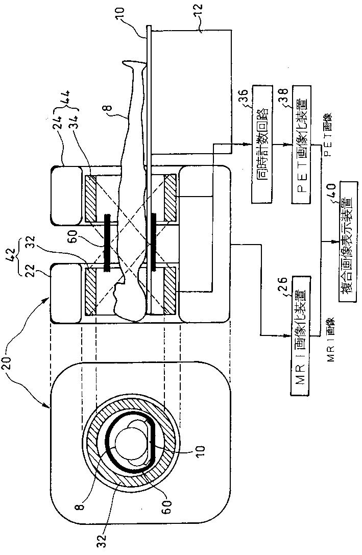
オープンPET/MRI複合機
授权日
2013-03-22
公开(公告)号
JP5224421B2
申请日
2009-03-12
公开(公告)日
2013-07-03
当前申请(专利权)人
独立行政法人放射線医学総合研究所
发明人
山谷 泰賀 | 村山 秀雄 | 小畠 隆行 | 青木 伊知男
简单同族
EP2407101A1 | EP2407101A4 | EP2407101B1 | JP5224421B2 | JPWO2010103644A1 | US20120150017A1 | WO2010103644A1
简单同族成员数量
7
简单同族被引用专利总数
49
诉讼案件数
0
法律状态/事件
授权 | 权利转移
抱歉,您的浏览器不支持PDF预览,请点击链接下载PDF文件