专利数据库
统计分析
产业报告
专利数据监控
产业人才
行业动态
产业政策法规
维权援助
个人中心
详情
文本
图像
标题
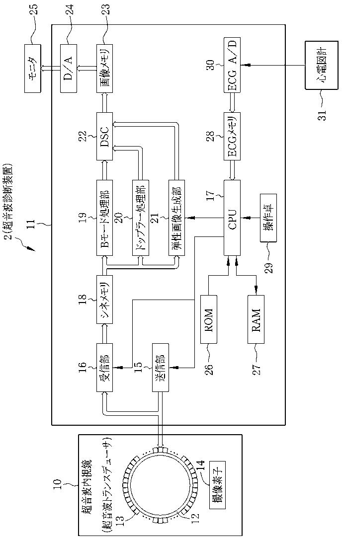
超音波診断装置
授权日
1900-01-01
公开(公告)号
JP2007082725A
申请日
2005-09-21
公开(公告)日
2007-04-05
当前申请(专利权)人
富士フイルム株式会社
发明人
佐藤 良彰
简单同族
JP2007082725A | JP4694930B2 | US20070083116A1
简单同族成员数量
3
简单同族被引用专利总数
26
诉讼案件数
0
法律状态/事件
授权 | 权利转移
抱歉,您的浏览器不支持PDF预览,请点击链接下载PDF文件