专利数据库
统计分析
产业报告
专利数据监控
产业人才
行业动态
产业政策法规
维权援助
个人中心
详情
文本
图像
标题
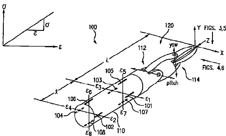
手術器具のための力およびトルクセンサー
授权日
1900-01-01
公开(公告)号
JP2009522016A
申请日
2006-12-13
公开(公告)日
2009-06-11
当前申请(专利权)人
インテュイティブ サージカル, インコーポレイテッド
发明人
ブルーメンクランツ, スティーブン ジェイ. | ラーキン, デイビッド キュー.
简单同族
CN101340850A | CN101340850B | EP1965711A2 | EP1965711B1 | JP2009522016A | JP2013075195A | JP2015062751A | JP2016083581A | JP5264505B2 | JP5700584B2 | KR101342917B1 | KR1020080089582A | US20070151390A1 | US20150164598A1 | US8945095 | WO2007111737A2 | WO2007111737A3
简单同族成员数量
17
简单同族被引用专利总数
293
诉讼案件数
0
法律状态/事件
授权
抱歉,您的浏览器不支持PDF预览,请点击链接下载PDF文件