专利数据库
统计分析
产业报告
专利数据监控
产业人才
行业动态
产业政策法规
维权援助
个人中心
详情
文本
图像
标题
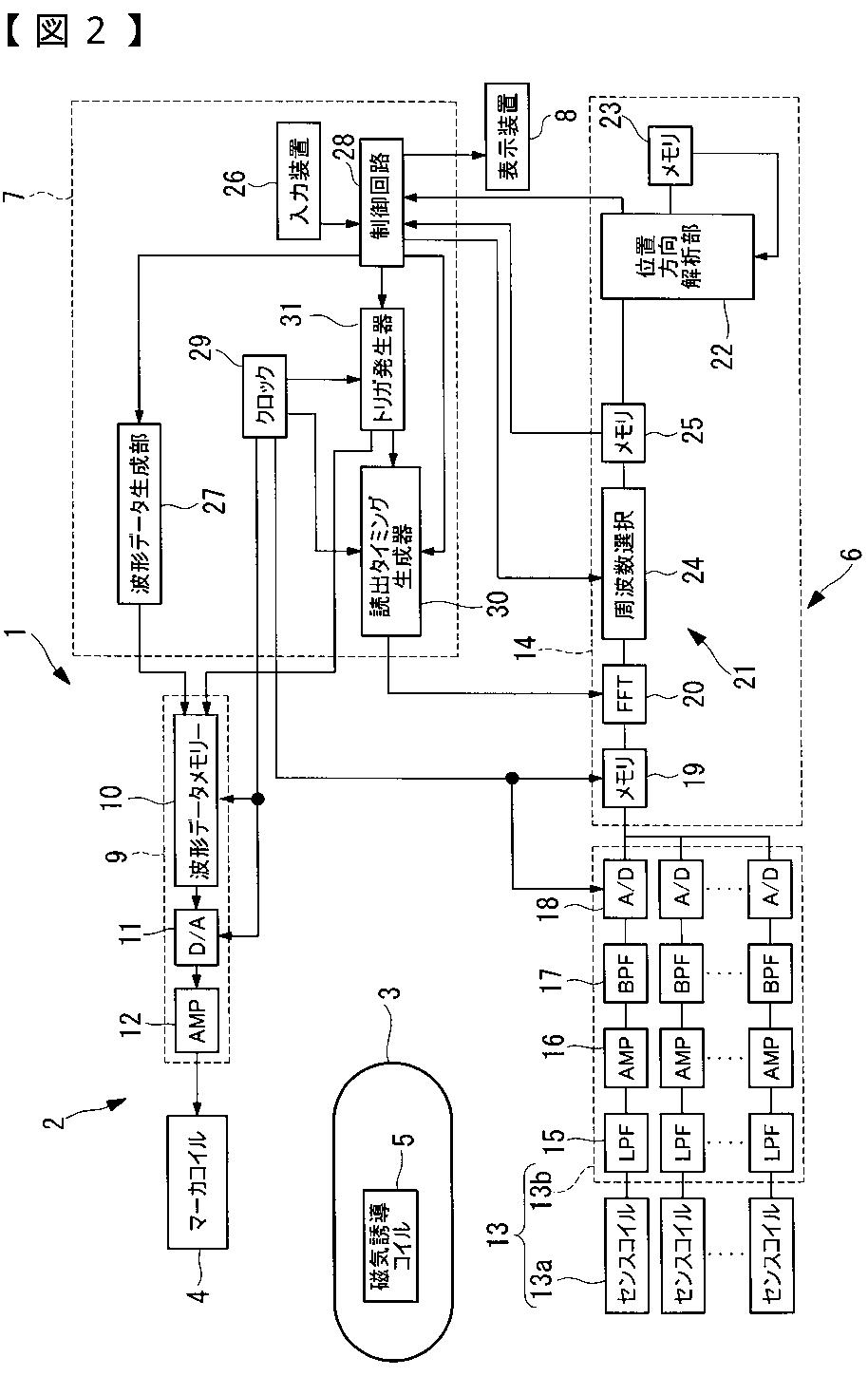
位置検出システムおよび医療装置誘導システム
授权日
2011-11-25
公开(公告)号
JP4869040B2
申请日
2006-11-27
公开(公告)日
2012-02-01
当前申请(专利权)人
オリンパス株式会社
发明人
内山 昭夫 | 佐藤 良次 | 木村 敦志
简单同族
CN101553159A | CN101553159B | EP2087832A1 | EP2087832A4 | EP2087832B1 | JP2008132047A | JP4869040B2 | US20100073185A1 | US8260398 | WO2008066036A1
简单同族成员数量
10
简单同族被引用专利总数
58
诉讼案件数
0
法律状态/事件
未缴年费
抱歉,您的浏览器不支持PDF预览,请点击链接下载PDF文件