专利数据库
统计分析
产业报告
专利数据监控
产业人才
行业动态
产业政策法规
维权援助
个人中心
详情
文本
图像
标题
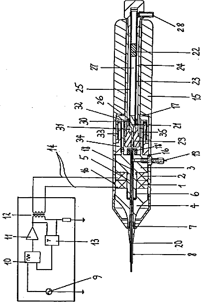
結石除去装置
授权日
1900-01-01
公开(公告)号
JP2002095670A
申请日
2001-06-15
公开(公告)日
2002-04-02
当前申请(专利权)人
フェルトン ホールディング ソシエテ アノニム
发明人
ヨアヒム ヒルト | ウォルフガング メルクレ
简单同族
AT250391T | AU2001051913A1 | AU775592B2 | CA2349441A1 | CA2349441C | DE10029580C1 | EP1163882A1 | EP1163882B1 | ES2208495T3 | IL143631A | IL143631D0 | JP2002095670A | JP3931051B2 | US20020010486A1 | US6511485
简单同族成员数量
15
简单同族被引用专利总数
130
诉讼案件数
0
法律状态/事件
授权
抱歉,您的浏览器不支持PDF预览,请点击链接下载PDF文件