专利数据库
统计分析
产业报告
专利数据监控
产业人才
行业动态
产业政策法规
维权援助
个人中心
详情
文本
图像
标题
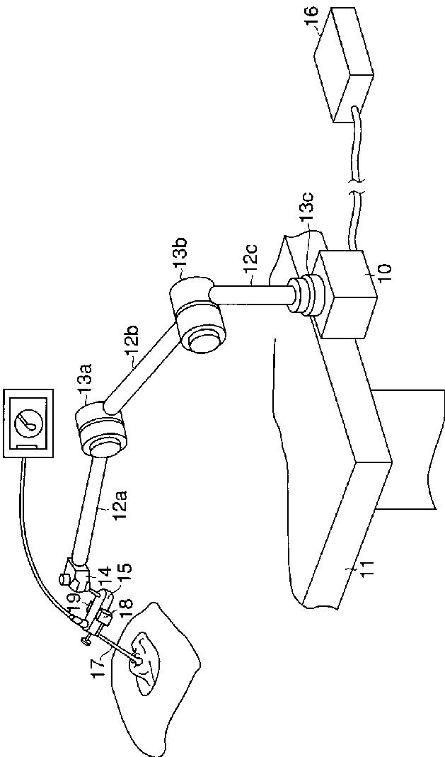
医療用具支持装置
授权日
2010-07-30
公开(公告)号
JP4559093B2
申请日
2004-02-13
公开(公告)日
2010-10-06
当前申请(专利权)人
オリンパス株式会社
发明人
大塚 聡司 | 新村 徹 | 山下 知暁
简单同族
DE602004003318D1 | DE602004003318T2 | EP1520548A2 | EP1520548A3 | EP1520548B1 | JP2005125056A | JP2005125056A5 | JP4559093B2 | US20050075536A1
简单同族成员数量
9
简单同族被引用专利总数
99
诉讼案件数
0
法律状态/事件
授权 | 权利转移
抱歉,您的浏览器不支持PDF预览,请点击链接下载PDF文件