专利数据库
统计分析
产业报告
专利数据监控
产业人才
行业动态
产业政策法规
维权援助
个人中心
详情
文本
图像
标题
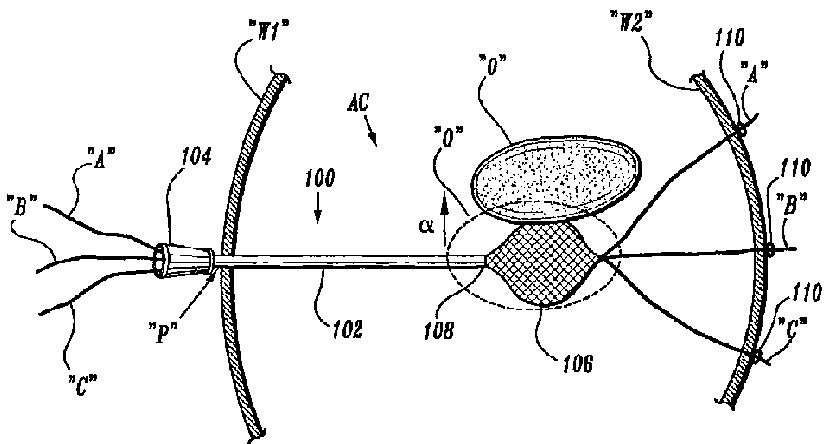
内視鏡的な器官牽引システムおよびその使用方法
授权日
1900-01-01
公开(公告)号
JP2005525865A
申请日
2003-05-19
公开(公告)日
2005-09-02
当前申请(专利权)人
タイコ ヘルスケア グループ エルピー
发明人
オーバン, ザ サード ジョゼフ ピー. | ジェラシ, ディーン
简单同族
AU2003248538A1 | AU2003248538B2 | CA2485461A1 | CA2485461C | EP1509142A1 | EP1509142B1 | EP1509142B8 | ES2376660T3 | JP2005525865A | JP2009279428A | JP4473115B2 | US20050203344A1 | US7112172 | WO2003096907A1
简单同族成员数量
14
简单同族被引用专利总数
173
诉讼案件数
0
法律状态/事件
授权
抱歉,您的浏览器不支持PDF预览,请点击链接下载PDF文件