专利数据库
统计分析
产业报告
专利数据监控
产业人才
行业动态
产业政策法规
维权援助
个人中心
详情
文本
图像
标题
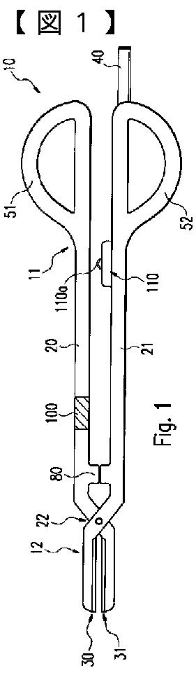
電気外科手術用器具
授权日
2012-08-31
公开(公告)号
JP5074406B2
申请日
2006-09-26
公开(公告)日
2012-11-14
当前申请(专利权)人
エルベ エレクトロメディジン ゲーエムベーハー
发明人
ディーター ハフナー | フローリアン アイゼーレ
简单同族
CN101277654A | CN101277654B | CN102048578A | CN102048578B | DE102006042985A1 | EP1937174A2 | EP1937174B1 | JP2009509706A | JP5074406B2 | US20080215048A1 | US8926610 | WO2007039185A2 | WO2007039185A3
简单同族成员数量
13
简单同族被引用专利总数
107
诉讼案件数
0
法律状态/事件
授权
抱歉,您的浏览器不支持PDF预览,请点击链接下载PDF文件