专利数据库
统计分析
产业报告
专利数据监控
产业人才
行业动态
产业政策法规
维权援助
个人中心
详情
文本
图像
标题
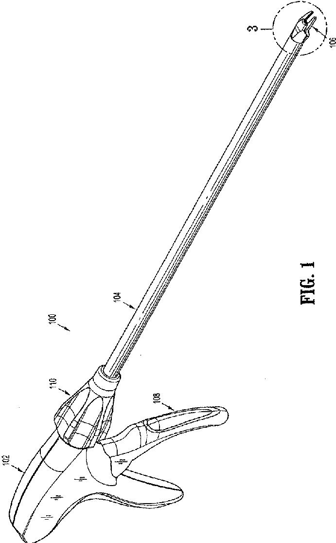
単一行程の内視鏡外科手術用クリップアプライア
授权日
1900-01-01
公开(公告)号
JP2010051810A
申请日
2009-08-28
公开(公告)日
2010-03-11
当前申请(专利权)人
コヴィディエン リミテッド パートナーシップ
发明人
グレゴリー ソレンティノ | ケニス エイチ. ホイットフィールド
简单同族
AU2009212773A1 | AU2009212773B2 | CA2675921A1 | CA2675921C | CN101664332A | CN101664332B | EP2158851A1 | EP2158851B1 | EP2478851A2 | EP2478851A3 | EP2478851B1 | ES2385698T3 | JP2010051810A | JP2014087651A | JP2015083162A | JP5629072B2 | US20100057102A1 | US8585717
简单同族成员数量
18
简单同族被引用专利总数
97
诉讼案件数
0
法律状态/事件
授权
抱歉,您的浏览器不支持PDF预览,请点击链接下载PDF文件