专利数据库
统计分析
产业报告
专利数据监控
产业人才
行业动态
产业政策法规
维权援助
个人中心
详情
文本
图像
标题
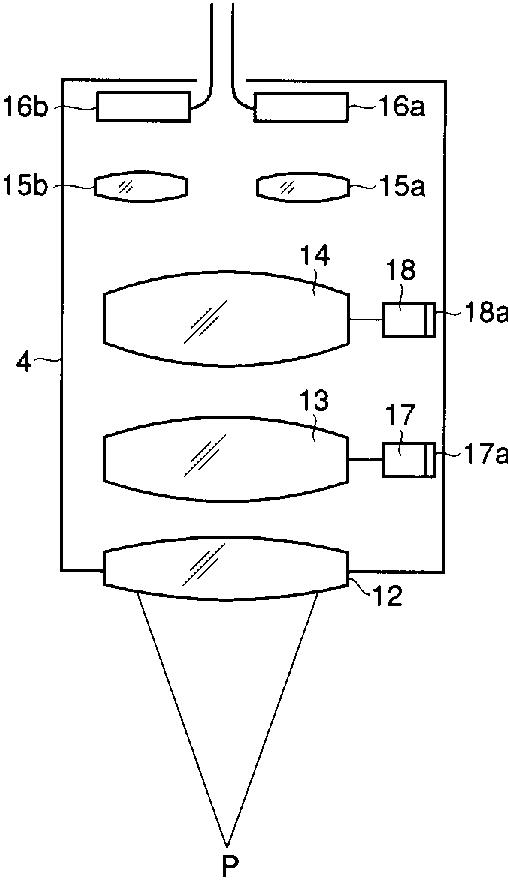
手術用顕微鏡
授权日
2007-11-30
公开(公告)号
JP4046545B2
申请日
2002-04-26
公开(公告)日
2008-02-13
当前申请(专利权)人
オリンパス株式会社
发明人
中西 一仁 | 塩田 敬司 | 溝口 正和
简单同族
JP2003322803A | JP2003322803A5 | JP4046545B2
简单同族成员数量
3
简单同族被引用专利总数
25
诉讼案件数
0
法律状态/事件
授权 | 权利转移
抱歉,您的浏览器不支持PDF预览,请点击链接下载PDF文件