专利数据库
统计分析
产业报告
专利数据监控
产业人才
行业动态
产业政策法规
维权援助
个人中心
详情
文本
图像
标题
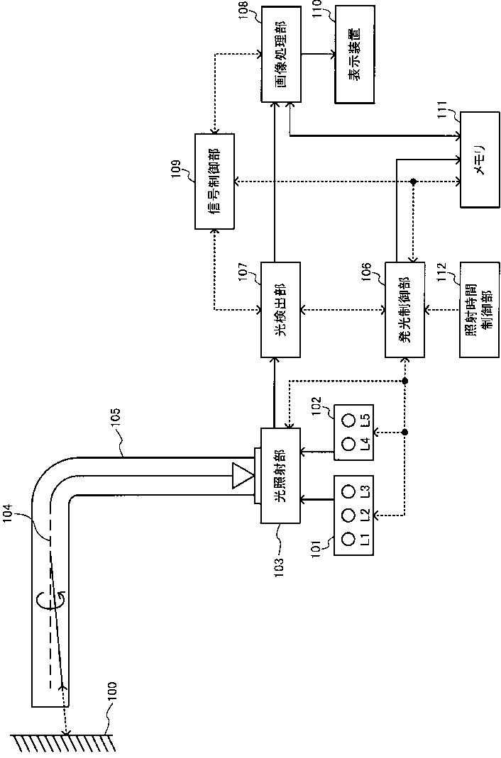
光制御装置、制御装置、光学スコープ及び光走査型光学装置
授权日
1900-01-01
公开(公告)号
JP2011125404A
申请日
2009-12-15
公开(公告)日
2011-06-30
当前申请(专利权)人
オリンパス株式会社
发明人
温 成剛
简单同族
JP2011125404A | JP2011125404A5 | US20120241620A1 | WO2011074447A1
简单同族成员数量
4
简单同族被引用专利总数
37
诉讼案件数
0
法律状态/事件
驳回
抱歉,您的浏览器不支持PDF预览,请点击链接下载PDF文件