专利数据库
统计分析
产业报告
专利数据监控
产业人才
行业动态
产业政策法规
维权援助
个人中心
详情
文本
图像
标题
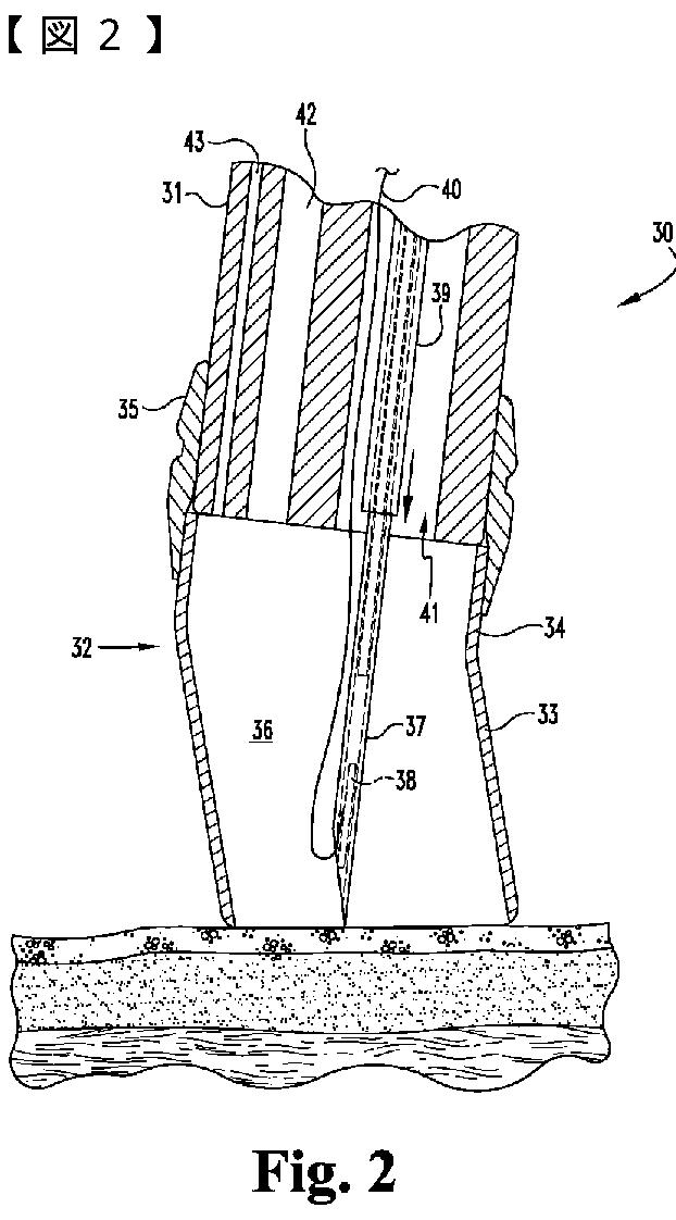
アンカー器具を体内通路の壁内へ送達するための装置
授权日
2014-05-09
公开(公告)号
JP5539897B2
申请日
2008-12-05
公开(公告)日
2014-07-02
当前申请(专利权)人
インディアナ·ユニバーシティ·リサーチ·アンド·テクノロジー·コーポレーション
发明人
ラーマニ, エマド, ワイ.
简单同族
AU2008335399A1 | AU2008335399B2 | CA2707495A1 | CA2707495C | CN101888811A | CN101888811B | EP2222230A1 | EP2222230A4 | EP2222230B1 | JP2011517577A | JP2011517577A5 | JP5539897B2 | US20090204147A1 | US9526487 | WO2009076190A1
简单同族成员数量
15
简单同族被引用专利总数
32
诉讼案件数
0
法律状态/事件
授权
抱歉,您的浏览器不支持PDF预览,请点击链接下载PDF文件