专利数据库
统计分析
产业报告
专利数据监控
产业人才
行业动态
产业政策法规
维权援助
个人中心
详情
文本
图像
标题
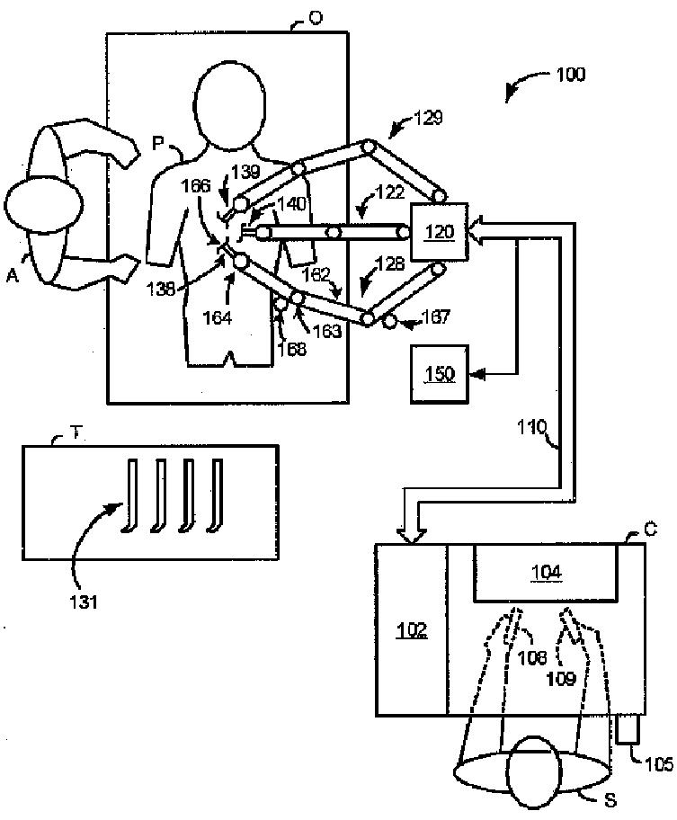
コンピュータディスプレイ画面の境界領域に表示されるツール位置および識別指標
授权日
1900-01-01
公开(公告)号
JP2009542362A
申请日
2007-06-22
公开(公告)日
2009-12-03
当前申请(专利权)人
インテュイティブ サージカル インコーポレイテッド
发明人
ラーキン, デイビッド | ニクソン, トーマス | ミンツ, デイビッド
简单同族
EP2046538A2 | EP2046538B1 | JP2009542362A | JP2012213655A | JP2012213655A5 | JP2013188574A | JP5372225B2 | JP5707449B2 | KR101374709B1 | KR1020090034813A | US20080004603A1 | US20170209232A1 | US20170210012A1 | US20170305016A1 | US20180297206A1 | US9718190 | WO2008002830A2 | WO2008002830A3
简单同族成员数量
18
简单同族被引用专利总数
337
诉讼案件数
0
法律状态/事件
撤回
抱歉,您的浏览器不支持PDF预览,请点击链接下载PDF文件