专利数据库
统计分析
产业报告
专利数据监控
产业人才
行业动态
产业政策法规
维权援助
个人中心
详情
文本
图像
标题
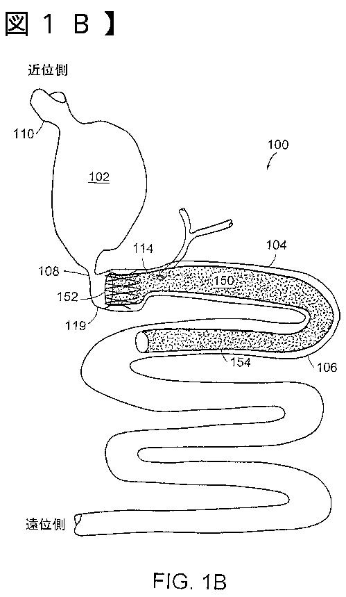
胃腸内スリーブを配置するための方法および装置
授权日
2011-11-04
公开(公告)号
JP4856067B2
申请日
2005-02-14
公开(公告)日
2012-01-18
当前申请(专利权)人
ジーアイ·ダイナミックス·インコーポレーテッド
发明人
レヴィン·アンディ·エイチ | メランソン·デイビッド·エー | ランポート·ロナルド·ビー
简单同族
AT506042T | DE602005027570D1 | EP1768618A1 | EP1768618B1 | JP2008505690A | JP2008505690A5 | JP2011251164A | JP4856067B2 | JP5502815B2 | US20060009858A1 | US7837643 | WO2006016894A1
简单同族成员数量
12
简单同族被引用专利总数
311
诉讼案件数
0
法律状态/事件
未缴年费
抱歉,您的浏览器不支持PDF预览,请点击链接下载PDF文件