专利数据库
统计分析
产业报告
专利数据监控
产业人才
行业动态
产业政策法规
维权援助
个人中心
详情
文本
图像
标题
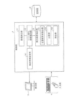
画像抽出装置および画像抽出プログラム
授权日
1900-01-01
公开(公告)号
JP2009005020A
申请日
2007-06-20
公开(公告)日
2009-01-08
当前申请(专利权)人
オリンパス株式会社
发明人
松崎 弘
简单同族
EP2157789A1 | EP2157789A4 | JP2009005020A | JP5147308B2 | US20100067808A1 | WO2008155974A1
简单同族成员数量
6
简单同族被引用专利总数
88
诉讼案件数
0
法律状态/事件
授权 | 权利转移
抱歉,您的浏览器不支持PDF预览,请点击链接下载PDF文件