专利数据库
统计分析
产业报告
专利数据监控
产业人才
行业动态
产业政策法规
维权援助
个人中心
详情
文本
图像
标题
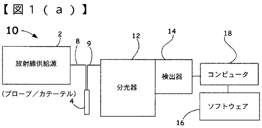
光ファイバーによる組織変異測定
授权日
2013-03-08
公开(公告)号
JP5214589B2
申请日
2007-04-24
公开(公告)日
2013-06-19
当前申请(专利权)人
バイオセンス·ウエブスター·インコーポレーテツド | ローレンス·リバモア·ナショナル·セキュリティ·エルエルシー
发明人
シャラーレ·シバ·ジー | デモス·スタブロス
简单同族
BRPI0710871A2 | BRPI0710871B1 | CA2650484A1 | CA2650484C | CN101563018A | CN101563018B | EP2015672A2 | EP2015672B1 | JP2009535098A | JP5214589B2 | MX2008013813A | MX301076B | RU2008146739A | RU2445041C2 | US20060229515A1 | WO2007127228A2 | WO2007127228A3
简单同族成员数量
17
简单同族被引用专利总数
92
诉讼案件数
0
法律状态/事件
授权
抱歉,您的浏览器不支持PDF预览,请点击链接下载PDF文件