专利数据库
统计分析
产业报告
专利数据监控
产业人才
行业动态
产业政策法规
维权援助
个人中心
详情
文本
图像
标题
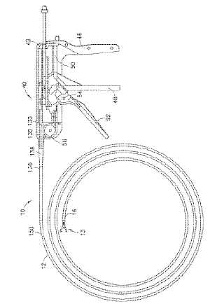
外科用器具、外科用クリップアプライヤ、およびクリップアプライヤ器具
授权日
1900-01-01
公开(公告)号
JP2004290675A
申请日
2004-03-24
公开(公告)日
2004-10-21
当前申请(专利权)人
エシコン·エンド-サージェリィ·インコーポレイテッド
发明人
ユルゲン·エイ·コルテンバッハ | ホセ·ルイス·フランセス
简单同族
AU2004201035A1 | AU2004201035B2 | CA2461847A1 | CA2461847C | EP1472982A2 | EP1472982A3 | EP2145591A1 | HK1137132A | JP2004290675A | JP4522732B2 | KR101061386B1 | KR1020040084770A | US20030191478A1 | US7090685
简单同族成员数量
14
简单同族被引用专利总数
276
诉讼案件数
0
法律状态/事件
未缴年费
抱歉,您的浏览器不支持PDF预览,请点击链接下载PDF文件