专利数据库
统计分析
产业报告
专利数据监控
产业人才
行业动态
产业政策法规
维权援助
个人中心
详情
文本
图像
标题
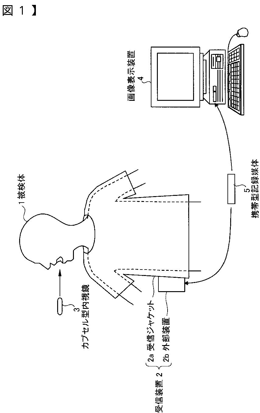
画像表示装置
授权日
2011-04-08
公开(公告)号
JP4716794B2
申请日
2005-06-06
公开(公告)日
2011-07-06
当前申请(专利权)人
オリンパスメディカルシステムズ株式会社
发明人
松井 亮
简单同族
JP2006334297A | JP2006334297A5 | JP4716794B2
简单同族成员数量
3
简单同族被引用专利总数
36
诉讼案件数
0
法律状态/事件
授权 | 权利转移
抱歉,您的浏览器不支持PDF预览,请点击链接下载PDF文件