专利数据库
统计分析
产业报告
专利数据监控
产业人才
行业动态
产业政策法规
维权援助
个人中心
详情
文本
图像
标题
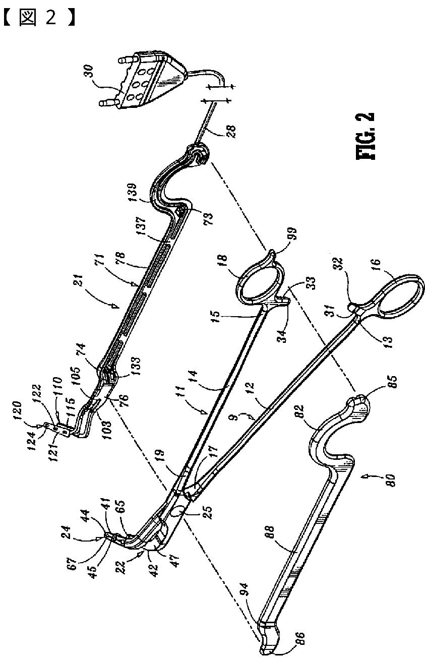
絶縁体と伝導体との接合部で電流密度を減少する電気外科用器具
授权日
2013-04-19
公开(公告)号
JP5247213B2
申请日
2008-04-03
公开(公告)日
2013-07-24
当前申请(专利权)人
タイコ ヘルスケア グループ リミテッド パートナーシップ
发明人
ゲイリー エム. クーチュール
简单同族
AU2008201504A1 | AU2008201504B2 | CA2627994A1 | CA2627994C | DE602008003604D1 | EP1977707A1 | EP1977707B1 | EP2345383A1 | EP2345383B1 | EP2361580A1 | EP2361580B1 | ES2356275T3 | JP2008253781A | JP5247213B2 | US20080249527A1 | US8267935
简单同族成员数量
16
简单同族被引用专利总数
213
诉讼案件数
0
法律状态/事件
授权
抱歉,您的浏览器不支持PDF预览,请点击链接下载PDF文件