专利数据库
统计分析
产业报告
专利数据监控
产业人才
行业动态
产业政策法规
维权援助
个人中心
详情
文本
图像
标题
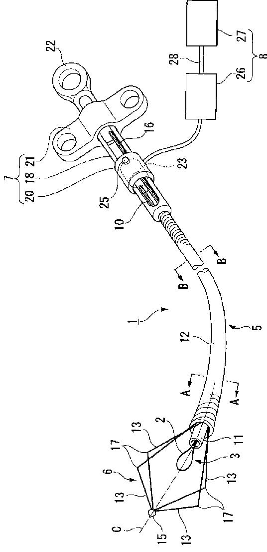
結石破砕装置
授权日
1900-01-01
公开(公告)号
JP2007325925A
申请日
2007-05-29
公开(公告)日
2007-12-20
当前申请(专利权)人
オリンパスメディカルシステムズ株式会社 | テルモ株式会社
发明人
宮本 諭 | 西家 武弘 | 小林 淳一 | 木下 康
简单同族
DE602007002746D1 | EP1864618A1 | EP1864618B1 | JP2007325925A | JP5105955B2 | US20080033467A1 | US8092470
简单同族成员数量
7
简单同族被引用专利总数
83
诉讼案件数
0
法律状态/事件
授权 | 权利转移
抱歉,您的浏览器不支持PDF预览,请点击链接下载PDF文件