专利数据库
统计分析
产业报告
专利数据监控
产业人才
行业动态
产业政策法规
维权援助
个人中心
详情
文本
图像
标题
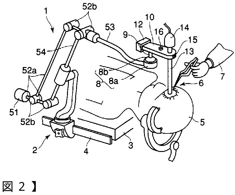
医療用器具保持装置
授权日
2009-03-06
公开(公告)号
JP4270889B2
申请日
2003-01-15
公开(公告)日
2009-06-03
当前申请(专利权)人
オリンパス株式会社
发明人
大塚 聡司 | 植田 昌章
简单同族
JP2004215905A | JP4270889B2 | US20040172012A1 | US7189246
简单同族成员数量
4
简单同族被引用专利总数
111
诉讼案件数
0
法律状态/事件
授权 | 权利转移
抱歉,您的浏览器不支持PDF预览,请点击链接下载PDF文件