专利数据库
统计分析
产业报告
专利数据监控
产业人才
行业动态
产业政策法规
维权援助
个人中心
详情
文本
图像
标题
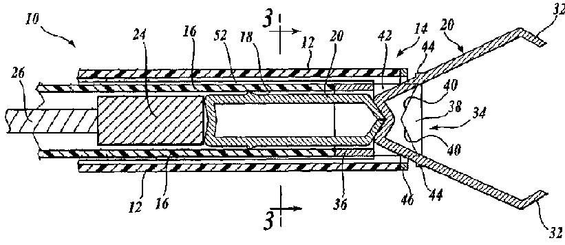
内視鏡のための複数ヘモクリップシステム
授权日
1900-01-01
公开(公告)号
JP2005506870A
申请日
2002-10-24
公开(公告)日
2005-03-10
当前申请(专利权)人
ボストン サイエンティフィック リミテッド
发明人
ダマラティ, ジョン ジェイ.
简单同族
AU2002340291A1 | AU2002340291A2 | AU2002340291B2 | CA2433040A1 | DE60216309D1 | DE60216309T2 | EP1437972A1 | EP1437972B1 | JP2005506870A | JP2005506870A5 | JP4237626B2 | US20030083677A1 | US20040158266A1 | US20060259045A1 | US20080065118A1 | US20120136376A1 | US20150112367A1 | US6679894 | US7001399 | US8133240 | US8936610 | US9730702 | WO2003034928A1
简单同族成员数量
23
简单同族被引用专利总数
216
诉讼案件数
0
法律状态/事件
未缴年费
抱歉,您的浏览器不支持PDF预览,请点击链接下载PDF文件