专利数据库
统计分析
产业报告
专利数据监控
产业人才
行业动态
产业政策法规
维权援助
个人中心
详情
文本
图像
标题
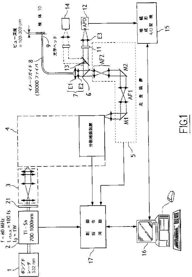
検体のファイバ式マルチフォトン式顕微鏡イメージング装置および方法
授权日
2012-10-05
公开(公告)号
JP5102622B2
申请日
2005-10-21
公开(公告)日
2012-12-19
当前申请(专利权)人
マウナ ケア テクノロジーズ | ソントル·ナシオナル·ド·ラ·ルシェルシュ·シアンティフィク | ユニヴェルシテ·ド·リモージュ
发明人
ヴィエルローブ、ベルトラン | ラコンム、フランソワ | ロアゾー、アレグザンドル | ルーラドゥール、フレデリック | ルレック、ミカエル | バルトレミイ、アラン | パヌー、ドミニク
简单同族
AU2005298494A1 | AU2005298494B2 | CA2584748A1 | CA2584748C | EP1817620A2 | EP1817620B1 | EP1817620B8 | ES2396426T3 | FR2877103A1 | FR2877103B1 | JP2008517291A | JP2008517291A5 | JP5102622B2 | US20070290145A1 | US8237131 | WO2006045936A2 | WO2006045936A3
简单同族成员数量
17
简单同族被引用专利总数
40
诉讼案件数
0
法律状态/事件
授权
抱歉,您的浏览器不支持PDF预览,请点击链接下载PDF文件