专利数据库
统计分析
产业报告
专利数据监控
产业人才
行业动态
产业政策法规
维权援助
个人中心
详情
文本
图像
标题
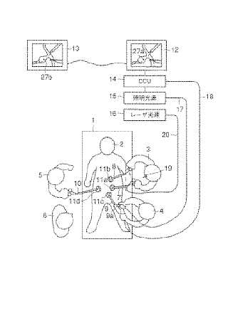
外科手術用システム
授权日
1900-01-01
公开(公告)号
JP2005013265A
申请日
2003-06-23
公开(公告)日
2005-01-20
当前申请(专利权)人
オリンパス株式会社
发明人
小賀坂 高宏 | 入江 昌幸
简单同族
EP1491131A1 | EP1491131B1 | JP2005013265A | JP4460857B2 | US20050004431A1 | US7491165
简单同族成员数量
6
简单同族被引用专利总数
88
诉讼案件数
0
法律状态/事件
授权 | 权利转移
抱歉,您的浏览器不支持PDF预览,请点击链接下载PDF文件