专利数据库
统计分析
产业报告
专利数据监控
产业人才
行业动态
产业政策法规
维权援助
个人中心
详情
文本
图像
标题
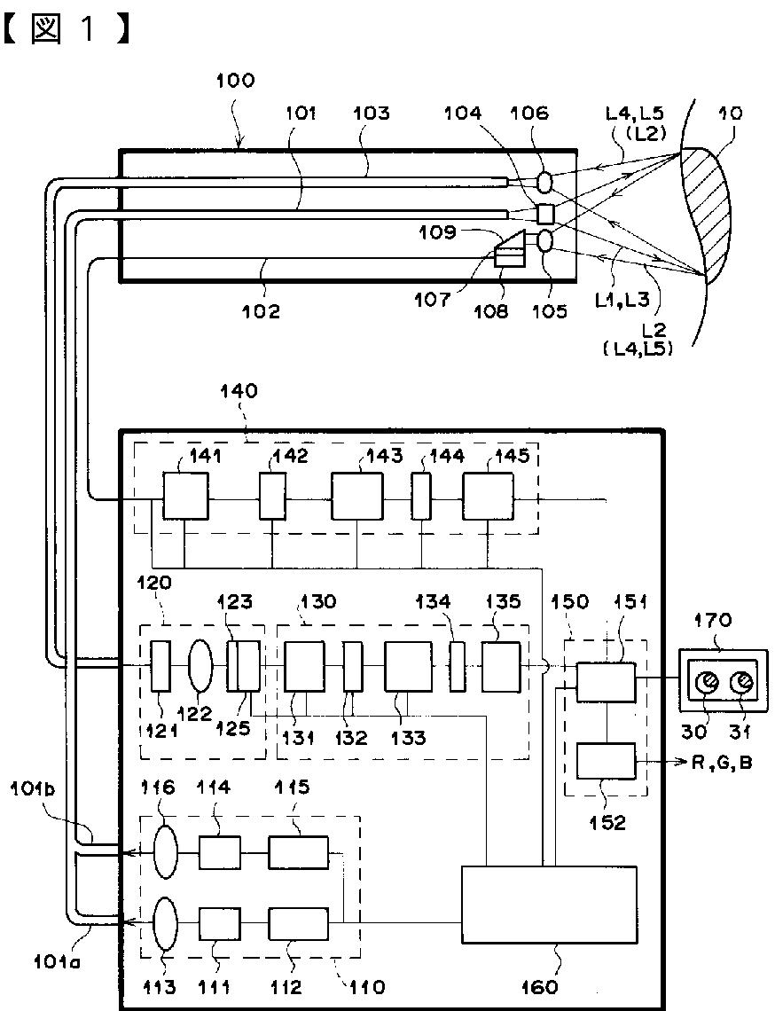
蛍光撮像装置
授权日
2010-01-08
公开(公告)号
JP4433347B2
申请日
2000-01-17
公开(公告)日
2010-03-17
当前申请(专利权)人
富士フイルム株式会社
发明人
林 克巳
简单同族
EP1116473A2 | EP1116473A3 | JP2001190489A | JP4433347B2 | US20010009269A1 | US6573513
简单同族成员数量
6
简单同族被引用专利总数
48
诉讼案件数
0
法律状态/事件
期限届满 | 权利转移
抱歉,您的浏览器不支持PDF预览,请点击链接下载PDF文件