专利数据库
统计分析
产业报告
专利数据监控
产业人才
行业动态
产业政策法规
维权援助
个人中心
详情
文本
图像
标题
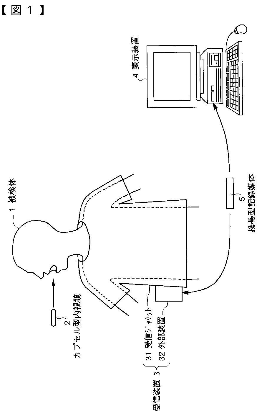
被検体内導入装置
授权日
2010-07-02
公开(公告)号
JP4542370B2
申请日
2004-05-24
公开(公告)日
2010-09-15
当前申请(专利权)人
オリンパス株式会社
发明人
森 健 | 本多 武道 | 穂満 政敏
简单同族
CN100369574C | CN1701751A | JP2005334082A | JP4542370B2 | US20050261552A1 | US7837617
简单同族成员数量
6
简单同族被引用专利总数
32
诉讼案件数
0
法律状态/事件
授权 | 权利转移
抱歉,您的浏览器不支持PDF预览,请点击链接下载PDF文件